ROM(Read Only Memory)
- 읽기 전용 메모리로 저장된 프로그램이나 데이터를 읽기만 할 수 있음( 특별한 장치 없이는 데이터 수정 불가)
- 내용을 변경하지 않고 자주 사용하는 프로그램이나 데이터를 저장할 때 사용
ROM의 구조


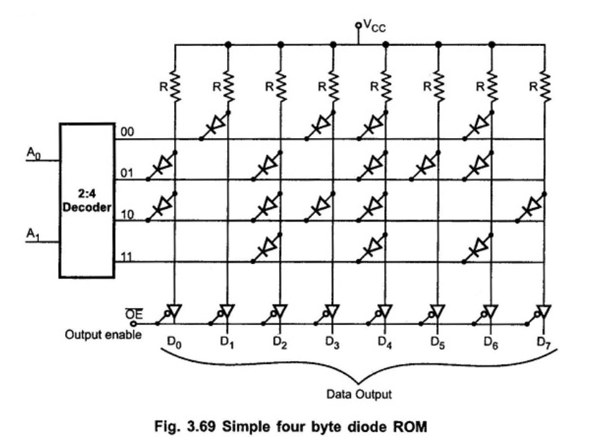
ROM의 동작 과정

- 주소 입력:
- ROM에 데이터를 읽기 위해 특정 주소를 입력합니다. 이 주소는 바이너리 형태로 입력됩니다.
- 입력된 주소는 주소 디코더(Address Decoder)를 통해 해독됩니다.
- 번지 선택:
- 주소 디코더는 입력된 주소를 해석하여 ROM 내부의 특정 번지(메모리 셀)를 선택합니다.
- 선택된 번지는 데이터가 저장된 위치를 나타냅니다.
- 데이터 출력:
- 선택된 번지에 저장된 데이터는 출력 버퍼(Output Buffer)를 통해 외부로 전달됩니다.
- 출력된 데이터는 ROM 셀의 상태(0 또는 1)에 따라 결정됩니다.
ex) ROM의 내부 실제 동작


- 00000번지가 선택 -> D_0의 출력이 퓨즈로 연결된 OR 게이트 출력만이 1이 되고 나머지는 0이 됨 -> 출력은 F_3=0, F_2=1, F_1=0, F_0=1로 출력 데이터는 0101이 됨
ex) 16 * 8 ROM 설계 및 테스트
- 참고 [5] 에서 확인

ROM의 종류
시간이 지나면서 ROM도 쓰는 능력도 생긴다.
- 마스크 롬(mask ROM)
- PROM(programmable ROM)
- EPROM(erasable Programmable ROM)
- EEPROM(Electrically Erasable Programmable ROM)
- 플래시 메모리(Flash Memory)


RAM(Random Access Memory)
RAM의 구조
DRAM( dynamic RAM)
- 재충전(refresh)과정이 필요함
- 주기억 장치에 주로 사용


SRAM(Static RAM)
- 캐시 메모리에 주로 사용




RAM의 동작과정(DRAM)
- 쓰기


- 읽기 및 지우기


RAM의 동작과정2(SRAM)
- 쓰기

- 읽기

ROM (읽기 전용 메모리) VS RAM (임의 접근 메모리)
| 읽기/쓰기 | 저장된 프로그램이나 데이터를 읽기만 할 수 있음 | 데이터를 읽고 쓸 수 있음 |
| 휘발성 | 저장된 내용을 영구적으로 유지하는 비휘발성 메모리 | 전원이 중단되면 데이터가 모두 삭제되는 휘발성 메모리 |
| 접근 방식 | 특정 주소의 데이터에 직접 접근 가능 | 액세스하는 데 같은 시간이 걸리는 임의 접근 기억 장치 |
| 주요 용도 | 일정한 동작을 하는 프로그램을 저장하는 데 주로 사용 | 기억 기능이 필요한 분야에서 사용 가능 |
| 속도 | 상대적으로 느림 | 상대적으로 빠름 |
| 용량 | 일반적으로 작음 | 일반적으로 큼 |
| 예시 | BIOS, 펌웨어, 마이크로컨트롤러 프로그램 | 컴퓨터 주기억장치, 작업 공간 |
SRAM (Static RAM) vs DRAM (Dynamic RAM)
| 데이터 저장 방식 | 플립플롭 회로를 사용하여 데이터 저장 | 캐패시터와 트랜지스터를 사용하여 데이터 저장 |
| 리프레시 필요 여부 | 리프레시가 필요 없음 | 주기적으로 리프레시 필요 |
| 속도 | 빠른 데이터 액세스 속도 | 느린 데이터 액세스 속도 |
| 전력 소비 | 대기 중 전력 소비 낮음, 활성 상태에서 더 높음 | 지속적인 리프레시로 인해 더 많은 전력 소비 |
| 밀도 | 낮은 밀도(집적도 낮음) | 높은 밀도(집적도 큼) |
| 저장 용량 | 낮은 저장 용량 | 높은 저장 용량 |
| 비용 | 고가 | 저렴 |
| 물리적 배치 | 프로세서 내부 또는 프로세서와 메인 메모리 사이에 위치 | 메인보드에 위치 |
| 사용 사례 | CPU 캐시 메모리(Nand Flash) | 컴퓨터의 메인 메모리(DDR4, DDR5) |
| 데이터 유지 | 전원이 공급되는 한 데이터 유지 가능 | 전원이 꺼지면 데이터 손실 |
참고
[2] https://www.eeeguide.com/rom-memory/
ROM Memory | ROM Architecture | Diode ROM Circuit
It is a read only memory. We can't write data in this ROM Memory. It is non-volatile memory i.e. it can hold data even if power is turned off
www.eeeguide.com
[4] https://www.researchgate.net/figure/Basic-SRAM-Memory-Cell-1_fig1_352619585
'Electrical engineering > 디지털논리회로' 카테고리의 다른 글
| [디논] 논리 게이트 (0) | 2025.04.14 |
|---|